机械零部件
当前位置:福建龙溪轴承(集团)股份有限公司 - 一号娱乐产业 - 机械零部件 - 关节轴承 - 角接触关节轴承
GAC…S

产品编号:GAC…S 25~200

滑动磨擦副:钢/钢

产品特点:内、外圈材料均为轴承钢,淬火,磷化,外圈有润滑油槽油孔,内球面有两条交叉润滑槽,滑动表面涂敷二硫化钼。

使用温度范围:-50℃~+150℃

  

          

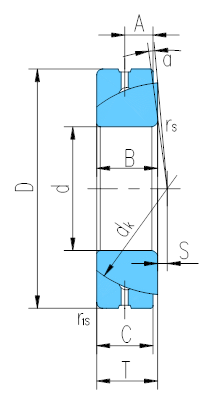
轴 承

型 号

Bearing number

外 形 尺 寸

Dimensions         mm

额定载荷

Load ratings  kN

重 量

Weight

≈kg

d

D

B

C

T

dk

S

A

rs,r1s

min

α˚

动载荷

Dynamic

静载荷

Static

GAC25S

25

47

15

14

15

42

0.6

7.5

1

2.5

50

250

0.148

GAC28S

28

52

15

15

16

47

1

8

1

2

60

300

0.186

GAC30S

30

55

17

15

17

49.5

1.3

8.5

1

4.5

63

315

0.208

GAC32S

32

58

17

16

17

52

2

8.5

1

2

71

354

0.241

GAC35S

35

62

18

16

18

55.5

2.1

9

1

4

78

390

0.268

GAC40S

40

68

19

17

19

62

2.8

9.5

1

3.5

92

463

0.327

GAC45S

45

75

20

18

20

68.5

3.5

10

1

3

108

540

0.416

GAC50S

50

80

20

19

20

74

4.3

10

1

1.5

123

618

0.455

GAC55S

55

90

23

20

23

82

5

11.5

1.1

4

144

721

0.645

GAC60S

60

95

23

21

23

88.5

5.7

11.5

1.1

2.5

163

817

0.714

GAC65S

65

100

23

22

23

93.5

6.5

11.5

1.1

1

180

905

0.759

GAC70S

70

110

25

23

25

102

7.2

12.5

1.1

2

206

1030

1.04

GAC75S

75

115

25

24

25

107

7.9

12.5

1.1

1

220

1129

1.12

GAC80S

80

125

29

25.5

29

115

8.6

14.5

1.1

3.5

258

1290

1.54

GAC85S

85

130

29

26.5

29

122

9.4

14.5

1.1

2

284

1422

1.61

GAC90S

90

140

32

28

32

128.5

10.1

16

1.5

3.5

316

1580

2.09

GAC95S

95

145

32

29.5

32

135

10.8

16

1.5

2

350

1750

2.22

GAC100S

100

150

32

31

32

141

11.6

16

1.5

0.5

384

1923

2.34

GAC105S

105

160

35

32.5

35

148

12.3

17.5

2

2

423

2116

2.93

GAC110S

110

170

38

34

38

155

13

19

2

3

463

2318

3.68

GAC120S

120

180

38

37

38

168

14.5

19

2

0.5

547

2735

3.97

GAC130S

130

200

45

43

45

188

18

19

2.5

1

710

3550

5.92

GAC140S

140

210

45

43

45

198

19

19

2.5

1

740

3740

6.33

GAC150S

150

225

48

46

48

211

20

20.5

3

1

850

4270

8.01

GAC160S

160

240

51

49

51

225

20

22

3

1

970

4850

9.79

GAC170S

170

260

57

55

57

246

21

27

3

1

1190

5950

12.3

GAC180S

180

280

64

61

64

260

21

28

3

1

1395

6970

17.4

GAC190S

190

290

64

62

64

275

26

30

3

0.5

1500

7500

18.2

GAC200S

200

310

70

66

70

290

26

30

3

1.5

1680

8420

23.8